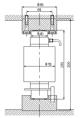
LC409 S-type Column Tension Sensor Load Cell Sensor Compression Load Cell


Features:
◎Self-restoring rocker pin load cell.
◎Upper and lower inhibitor design, easy to installation.
◎Dynamic respond, and super capacity for anti-overload.
◎Application to truck scale, railway scale, axle scale, storage scale and other weighing equipment.
Technical Parameter:
Package Details:
















