Категория: Метка: Бренд:

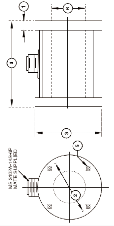
Interface / TS70 Static torque Sensor


Measuring range: 6.8 Nm ~ 11.291 k Nm

Accuracy: ±0.1%FS


Share it:

TS70 Static torque Sensor

Technical parameters

Category Parameter Value / Unit
Model Model Number 5330
Capacity Range — lb*in 60, 120, 240, 600, 1200, 3k, 6k, <br> 10k, 20k, 50k, 100k
Accuracy Class ( MAX ERROR )
Non-linearity — %FS ± 0.1
Hysteresis — %FS ± 0.25
Repeatability — %RO ± 0.05
Temperature
Compensated Temp. Range — °C -24 to 80
Operating Temp. Range — °C -54 to 107
Temp. Effect on Zero — %RO/°F — MAX ± 0.002
Temp. Effect on Sensitivity — %RO/°F — MAX ± 0.002
Electrical
Sensitivity — mV/V 2.0
Excitation Voltage — VDC MAX 10V DC (20 MAX)
Output Resistance — Ohm 350
Zero Balance (Output) — %RO ± 1.0
Insulation Resistance — Megohm > 5000
Mechanical
Safe Overload — %CAP ± 200
Calibration Mode Clockwise & Counter-clockwise

Dimensions

5300

5300