LC2419 Load Cells And Force Transducers Micro S Load Cells & Sensors

Product Description:
S-type structure, with good output stability and high accuracy; suitable for force testing machine, welding machine, cold and hot pressing film machine, medical equipment and industrial automation measurement and control system.
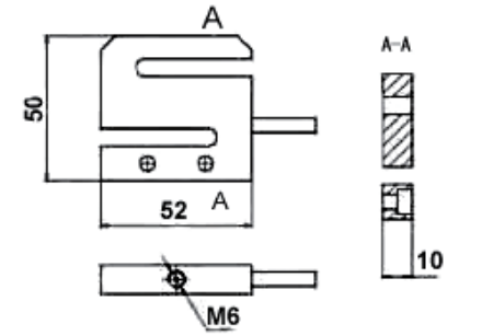
Dimension:

Technical Data:





















